α-i, Plastic, Manual
Internal Emergency Module for LED Luminaires
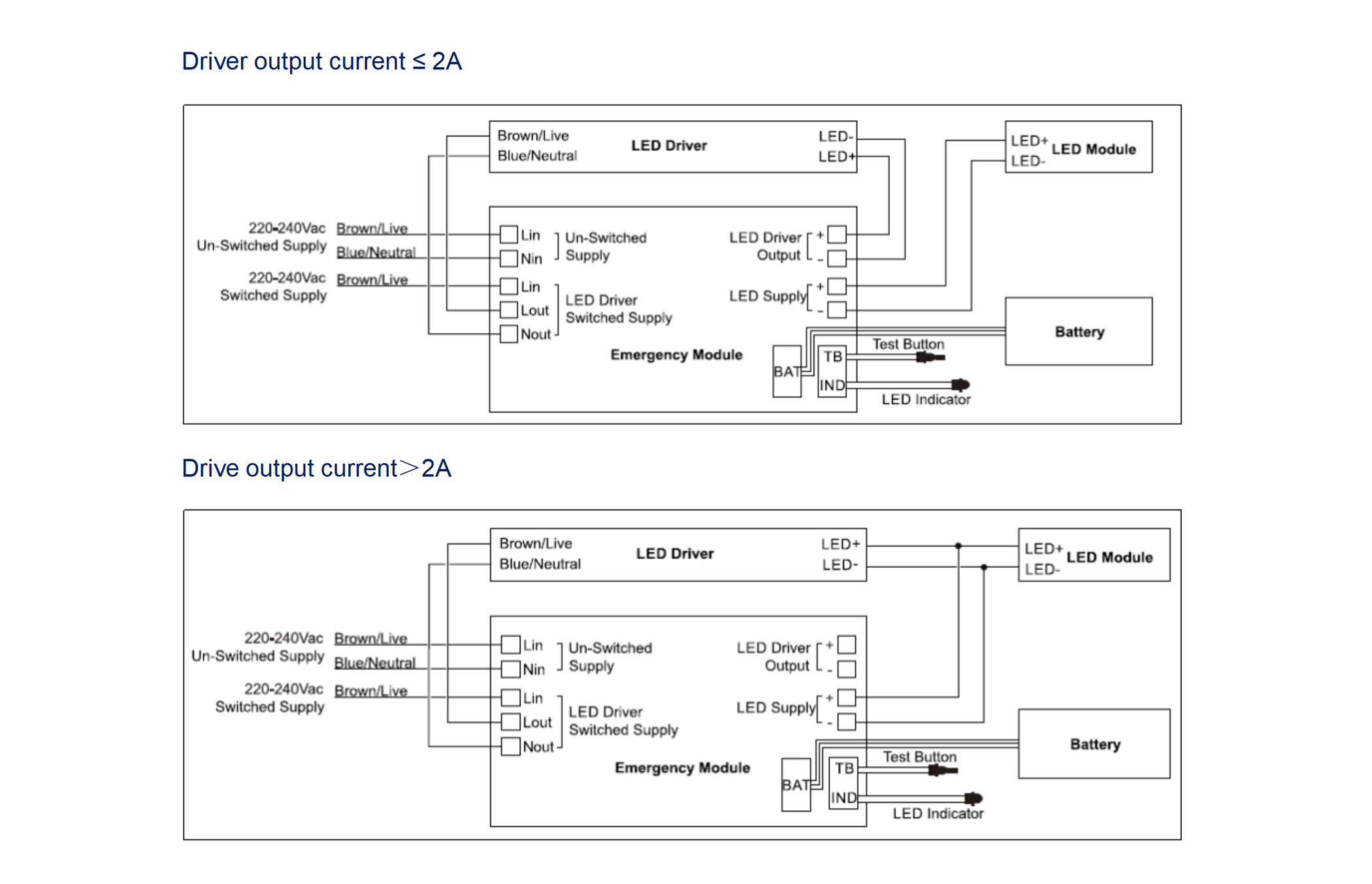
- For LED modules with a forward voltage of 20-55Vdc
- For maintained or non-maintained emergency lighting systems
- Conforms to EN 61347-1 and EN 61347-2-7
- Wired between LED driver and LED module via terminals
- Suitable for use in luminaires for high-risk task area lighting
- Voltage change-over threshold according to EN 60598-2-22
- 1.5 hours or 3 hours rated duration
- LiFePO4 battery pack
- Over-charge, over-current, short-circuit and deep discharge protection for battery
- Green status LED indicator
- Constant power output
- For built-in
- Battery charging temperature control





