α-ni, Metal, Self-test
Internal Emergency Module for LED Luminaires
- Triple-press test button to change test mode (manual/self-test)
- Double-press test button to change duration test interval (26weeks/52weeks)
- For LED modules with a forward voltage of 30-300Vdc
- For maintained or non-maintained emergency lighting systems
- Automatic Self-Test technology conforming to EN 62034
- Conforms to EN 61347-1 and EN 61347-2-7
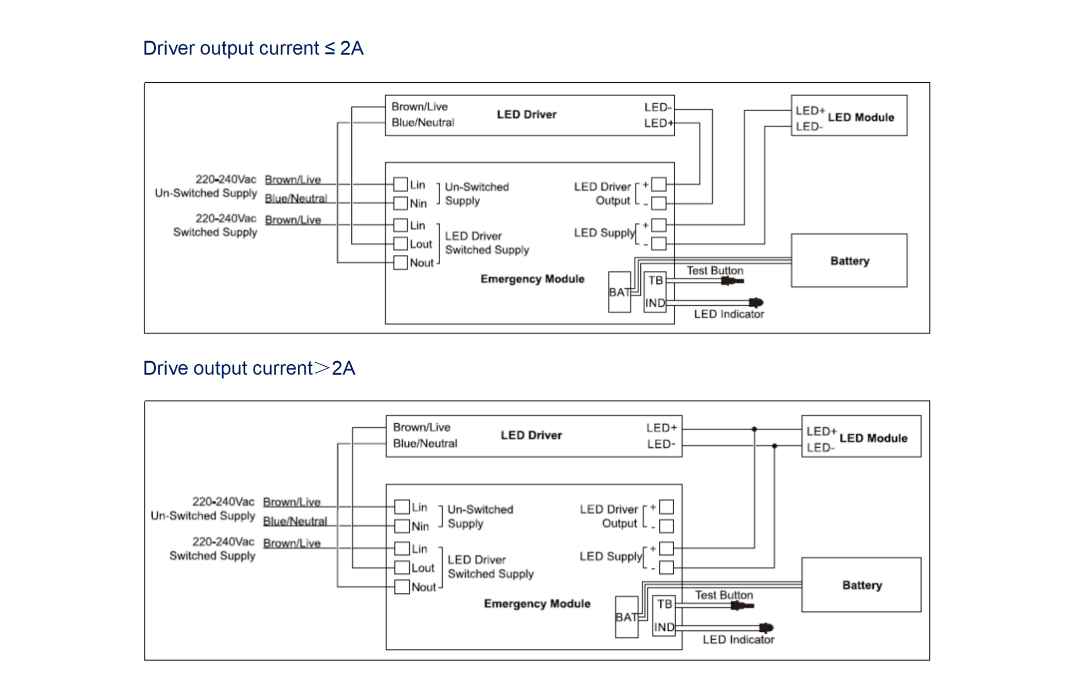
- Wired between LED driver and LED module via terminals
- Suitable for use in luminaires for high-risk task area lighting
- Voltage change-over threshold according to EN 60598-2-22
- 1.5 hours or 3 hours rated duration
- LiFePO4 battery pack
- Over-charge, over-current, short-circuit and deep discharge protection for battery
- Bi-coloured status LED indicator
- Weekly function test and yearly/semi-yearly duration test for self-test mode
- Constant power output
- For built-in
- Battery charging temperature control





